iPhone mới sẽ dùng pin linh hoạt, và iPad có màn hình gập lại
Theo dữ liệu mới nhất, Apple đang lên kế hoạch phát triển thỏi pin linh hoạt cho iPhone hoặc iPad có thể gập lại.
Bằng sáng chế mới nhất của Apple đã chỉ ra nhiều cách khác nhau cho pin linh hoạt để sử dụng với màn hình có thể gập lại trong iPhone hoặc iPad, giúp tiết kiệm không gian bên trong các thiết bị thông thường.
Lợi thế lớn nhất của một chiếc điện thoại hoặc máy tính bảng có thể gập lại là màn hình. Nhiều báo cáo cho thấy Apple đang làm việc trên màn hình với bản lề giống như Samsung Galaxy Fold. Tuy nhiên, có những thành phần khác cần phải linh hoạt và Apple đang xem xét bộ phận pin.

Bằng sáng chế về pin linh hoạt dành cho iPhone hoặc iPad có màn hình gập lại
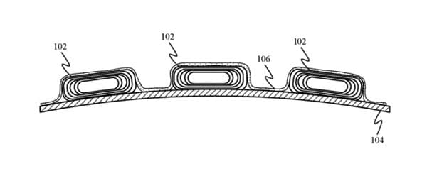
Bằng sáng chế Mỹ số 10.637.017 có tên là “Cấu trúc pin linh hoạt” – Flexible Battery Structure của Apple liên quan đến cách cung cấp năng lượng cho màn hình có thể gập lại và khắc phục sự cố định kỳ với tất cả các thiết bị. Bằng sáng chế này giải thích như sau: “Pin thường chiếm một lượng không gian đáng kể trong một thiết bị điện tử cầm tay. Khi các thiết bị ngày càng cần nhiều năng lượng hơn, sẽ phải dành nhiều không gian hơn để chứa pin.”
“Ngoài việc chiếm không gian, pin cũng khá cứng, khiến việc đặt chúng vào các phần của thiết bị được thiết kế để bẻ cong không thực tế. Khi pin cứng và không thể chịu được sự uốn cong, không gian của thiết bị bao quanh pin cũng không thể uốn cong được. Giải pháp được đưa ra… là tách các tế bào pin linh hoạt thành các vùng riêng biệt”.
Ví dụ, các tế bào pin linh hoạt có thể được cuộn lại thành các hình trụ rời rạc và sau đó được phân phối trên một đế linh hoạt. Tùy thuộc vào khoảng cách giữa các pin và đường kính của các pin rời, tấm pin có thể được uốn cong quanh ít nhất một trục.

iPhone có màn hình gập lại trong tương lai
Phần lớn các bằng sáng chế đã chỉ ra các phương pháp xếp đặt pin cùng với các chi tiết cụ thể để giảm bớt các áp lực gây ra với pin. Điều này đồng nghĩa với việc các nhà sản xuất có thể thoát khỏi pin hình chữ nhật quen thuộc và Apple đã khai thác ý tưởng về pin có thể xếp chồng lên nhau trong MacBook 2015.
Mặc dù vậy, bằng sáng chế này chủ yếu liên quan đến “hoạt động của pin linh hoạt được tích hợp trong màn hình linh hoạt”. Pin linh hoạt có thể được phân phối dọc theo cả bốn mặt của màn hình linh hoạt.
Đây là tài liệu tham khảo trực tiếp nhất của bằng sáng chế cho màn hình cuộn. Bằng sáng chế của Apple mô tả nhiều cách tạo ra pin linh hoạt và tất cả đều quan tâm đến việc có thể tạo ra bao nhiêu loại thiết bị khác nhau. Bằng sáng chế được ghi nhận độc quyền của Jiang Ai – từng là thành viên trong nhóm chịu trách nhiệm về bằng sáng chế trước đó liên quan đến màn hình iPhone gập lại.
Nguồn: danviet.vn


